服務熱線
136-7911-1256
產品簡介:
我廠生產的直埋式波紋補償器是集國內外同類產品的成功經驗,潛心研究出的一種工藝先進,安裝使用方便的管道設備。其中大中口徑的直埋式波紋補償器是我公司的拳頭產品之一,尤其在設計和生產大口徑直埋式波紋補償器方面,在國內外已處于絕對領先水平。
銷售熱線:
13679111256
產品介紹
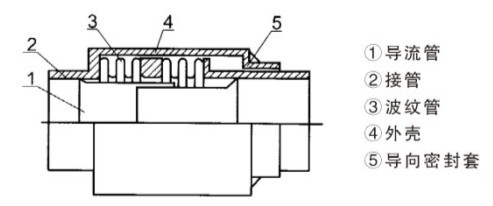
名稱:ZMS型直埋式波紋補償器
我廠生產的直埋式波紋補償器是集國內外同類產品的成功經驗,潛心研究出的一種工藝先進,安裝使用方便的管道設備。其中大中口徑的直埋式波紋補償器是我公司的拳頭產品之一,尤其在設計和生產大口徑直埋式波紋補償器方面,在國內外已處于絕對領先水平。
產品特點
直埋式波紋補償器說明:

產品性能
直埋式波紋補償器技術參數
| 通徑 | 波數 | 壓力等級MPa | 波紋管 | 大外徑 | 接管端口 | 總長L | ||||
| DN | 0.25 | 0.6 | 1 | 1.6 | 2.5 | 有效面積 | 尺寸 | 尺寸 | (mm) | |
| 軸向補償量mm/剛度N/mm | cm2 | mm | mm | |||||||
| 50 | 8 | 14/153 | 12/318 | 12/318 | 12/635 | 11/1310 | 37 | 120 | φ57x3.5 | 361 |
| 16 | 27/76 | 24/158 | 24/158 | 24/318 | 23/655 | 445 | ||||
| 32 | 52/38 | 48/79 | 48/79 | 48/159 | 46/328 | 621 | ||||
| 65 | 8 | 19/213 | 18/213 | 18/213 | 18/424 | 15/841 | 55 | 159 | φ73x4 | 377 |
| 12 | 30/142 | 29/142 | 27/142 | 27/283 | 25/421 | 425 | ||||
| 24 | 60/71 | 58/107 | 54/107 | 54/142 | 50/211 | 581 | ||||
| 80 | 8 | 30/179 | 30/179 | 30/358 | 29/358 | 27/650 | 81 | 162 | φ89x4 | 430 |
| 10 | 54/143 | 37/143 | 37/286 | 37/286 | 32/325 | 466 | ||||
| 20 | 108/72 | 74/72 | 74/143 | 74/143 | 64/163 | 660 | ||||
| 100 | 6 | 34/138 | 34/277 | 33/417 | 33/417 | 32/817 | 121 | 180 | φ108x4 | 410 |
| 10 | 56/83 | 56/166 | 56/250 | 54/250 | 50/409 | 492 | ||||
| 20 | 112/42 | 112/83 | 112/125 | 108/125 | 100/205 | 712 | ||||
| 125 | 5 | 37/136 | 36/272 | 36/408 | 35/408 | 33/801 | 180 | 221 | φ133x4 | 410 |
| 9 | 66/76 | 65/151 | 65/227 | 63/227 | 60/401 | 412 | ||||
| 18 | 132/38 | 130/76 | 130/114 | 126/114 | 120/201 | 711 | ||||
| 150 | 5 | 49/100 | 49/200 | 48/300 | 45/456 | 44/845 | 257 | 245 | φ159x4.5 | 433 |
| 8 | 88/63 | 78/125 | 77/188 | 71/286 | 65/423 | 518 | ||||
| 16 | 159/32 | 156/63 | 154/94 | 142/143 | 130/211 | 756 | ||||
| 200 | 4 | 58/95 | 56/193 | 56/288 | 56/480 | 55/800 | 479 | 327 | φ219x6 | 475 |
| 6 | 86/63 | 85/128 | 85/192 | 84/320 | 80/927 | 553 | ||||
| 12 | 172/32 | 170/64 | 170/96 | 168/160 | 160/200 | 800 | ||||
| 250 | 4 | 75/170 | 74/343 | 63/588 | 53/930 | 50/1856 | 769 | 404 | φ273x8 | 500 |
| 6 | 112/113 | 110/228 | 95/392 | 80/620 | 78/927 | 620 | ||||
| 12 | 220/57 | 220/114 | 190/196 | 160/310 | 156/464 | 984 | ||||
| 300 | 4 | 73/250 | 72/503 | 65/830 | 57/1253 | 54/2142 | 1105 | 451 | φ325x8 | 584 |
| 6 | 110/167 | 109/335 | 97/553 | 85/835 | 80/1071 | 713 | ||||
| 12 | 220/84 | 218/168 | 194/277 | 170/481 | 160/536 | 1113 | ||||
| 350 | 4 | 79/263 | 78/523 | 72/840 | 64/1265 | 62/2684 | 1307 | 500 | φ377x10 | 614 |
| 6 | 119/175 | 117/348 | 107/560 | 97/843 | 90/1342 | 759 | ||||
| 12 | 238/88 | 234/174 | 214/280 | 194/442 | 180/671 | 1216 | ||||
| 400 | 4 | 83/280 | 73/458 | 70/918 | 65/1373 | 63/3675 | 1611 | 537 | φ426x10 | 625 |
| 6 | 126/187 | 109/305 | 102/612 | 97/915 | 90/1838 | 771 | ||||
| 12 | 250/94 | 218/153 | 204/306 | 194/458 | 180/920 | 1225 | ||||
| 450 | 4 | 98/203 | 96/405 | 82/690 | 69/2305 | 65/4350 | 1972 | 632 | φ478x10 | 620 |
| 6 | 147/135 | 144/270 | 124/460 | 103/1537 | 90/2175 | 762 | ||||
| 12 | 294/68 | 288/135 | 248/230 | 206/769 | 180/1087 | 1200 | ||||
| 500 | 4 | 102/212 | 100/423 | 84/728 | 70/2452 | 65/4256 | 2445 | 699 | φ529x10 | 624 |
| 6 | 153/142 | 149/282 | 126/485 | 105/1635 | 90/2128 | 766 | ||||
| 12 | 306/71 | 298/141 | 252/243 | 210/818 | 180/1064 | 1216 | ||||
| 600 | 4 | 123/265 | 121/530 | 86/1468 | 99/1740 | 95/2842 | 3534 | 806 | φ630x10 | 676 |
| 6 | 185/177 | 181/353 | 148/978 | 140/1160 | 120/1420 | 848 | ||||
| 12 | 370/89 | 362/177 | 358/489 | 280/580 | 240/710 | 1382 | ||||
| 700 | 4 | 128/287 | 126/573 | 87/1625 | 85/2972 | 84/4100 | 4717 | 915 | φ720x10 | 708 |
| 6 | 192/192 | 188/382 | 168/1083 | 131/1982 | 120/2050 | 882 | ||||
| 12 | 384/96 | 376/191 | 336/542 | 262/991 | 240/11025 | 1422 | ||||
| 800 | 4 | 128/310 | 126/620 | 84/1778 | 85/3183 | 84/6234 | 5822 | 1005 | φ820x10 | 724 |
| 8 | 256/155 | 252/310 | 168/889 | 170/1591 | 168/3117 | 1071 | ||||
| 12 | 384/103 | 378/207 | 252/596 | 241/1061 | 236/1558 | 1538 | ||||
| 900 | 4 | 151/378 | 149/758 | 118/1329 | 117/2575 | 7620 | 1137 | φ920x10 | 192 | |
| 8 | 302/189 | 298/379 | 236/664 | 234/1288 | 1211 | |||||
| 12 | 453/126 | 447/253 | 351/443 | 354/825 | 1650 | |||||
| 1000 | 4 | 140/423 | 140/845 | 115/2770 | 90/5038 | 9043 | 1227 | φ1020x10 | 800 | |
| 8 | 280/212 | 280/423 | 230/1385 | 180/2519 | 1200 | |||||
| 12 | 420/141 | 420/282 | 345/923 | 270/1679 | 1616 | |||||
聯系人: 李經理
電話: 13679111256
QQ:603033916
座機: 02983331833
地址: 西安市未央區大明宮北辰五金批發基地1區7排11-14號
掃一掃關注我們